微信作为如今当之无愧的国内第一 App,一举一动都会引发外界的广泛关注。
近期,时隔半个月左右,iOS 微信再次迎来了正式版更新,版本号为 8.0.47。
不出意外,微信在更新日志中仍然显示「解决了一些已知问题」。
而根据网友反馈,以及小果的实际体验来看,新版 iOS 微信中并未带来太多明显的改变,应该是以修复 Bug 为主。

值得一提的是,本次 iOS 微信 8.0.47 版本的安装包大小也是首次突破 700MB 大关,达到了史无前例的 712.8MB。
结合近些年微信对内置功能的不断加码,微信距离「小而美」的定位也越来越远了。
不出意外的话,这也是 iOS 微信在过年前的最后一次版本更新了。
如果你在更新后发现了值得注意的新改变,欢迎在评论区留言,和大家一起分享。
尽管 iOS 微信在 8.0.47 版本中并未带来明显新变化,但微信还是在近期迎来了不少新动态。
首先是许多小伙伴十分关注的微信「听一听」功能。

图片来源:社交平台
前段时间,微信悄悄开启了一项名为「听一听」的功能内测,整合了「音频」和「音乐」两个板块。
和之前相比,新的「听一听」将位于更为显眼的一级入口处,与「扫一扫」等主要功能并列。
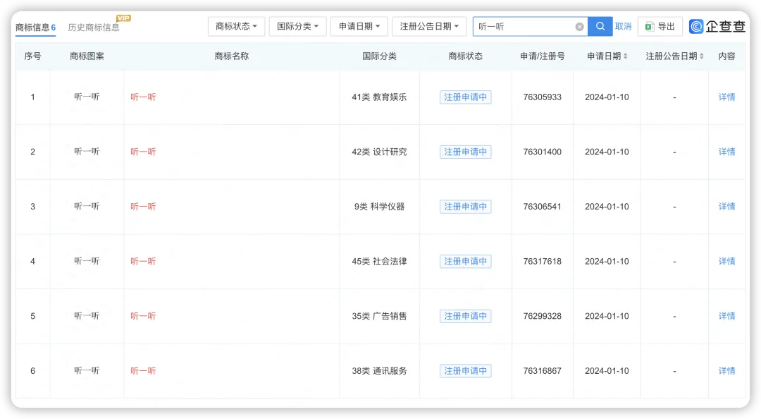
近期,腾讯注册了多枚「听一听」商标,目前处于注册申请状态。
结合微信近期逐步扩大了「听一听」的内测范围来看,预计该功能很快就会正式上线了。

图片来源:企查查
此外,近期闲鱼官方终于正式入驻了微信小程序,大家可以在小程序中自行搜索。
整体来看,闲鱼小程序的界面布局以及功能和 App 基本一致,在功能性方面没有太多限制。

闲鱼小程序的页面底部有 5 个功能入口,分别是首页、附近、发闲置、消息和我的。
值得一提的是,如果想在闲鱼小程序中完成交易,首先需要确保卖家开启了微信收款。
否则,在购买商品时就会提示「卖家未开通微信收款,暂时无法购买」,并有提醒卖家开通的按钮。
我们可以在「我的」页面中找到微信收款功能的开通入口。

开通过程也非常简单,只需要上传本人身份证正反面,并通过后续的实名认证即可。
当卖家开通小程序后,在 App 内上架的商品也将被同步到微信小程序中,增加更多曝光量。
同时,在微信小程序完成交易后,钱款也将转入卖家的「闲鱼微信收款余额」,可 0 手续费提现至银行卡。

对于闲鱼用户来说,闲鱼和微信小程序的这波「双向奔赴」无疑将为大家带来更加便利互通的使用体验。
不难看出,随着去年淘宝宣布支持微信扫码,今年抖音宣布王者荣耀直播解封以来,互联互通已经成为大趋势。
希望各大互联网厂商也能在后续共同促进更多类似的合作,为用户带来更好的使用体验。
以上就是近期关于微信的主要新动态了。
你升级 iOS 微信 8.0.47 版本了吗,体验如何?评论区聊聊。