软件下载
安卓APP
iOSAPP
鸿蒙APP
PC电脑游戏
当前位置:
首页
>
鸿蒙APP
>华为鸿蒙智行沿界z7新车终于公示了,你觉得是抄的小米吗?
华为鸿蒙智行沿界z7新车终于公示了,你觉得是抄的小米吗?
2026-03-29 19:23:19
华为鸿蒙智行沿界z7新车终于公示了,你觉得是抄的小米吗?
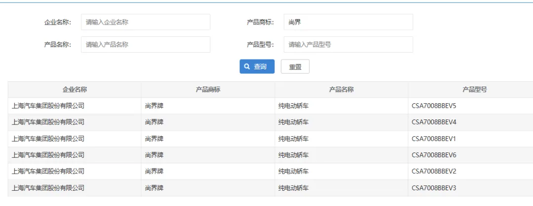
在第405批的工信部公示名单中。
尚界报送的汽车信息终于公布了。之前都是各类PPT测试,AI冬测,大家见不到实车照片,现在工信部的名单终于出来。大家可以看看具体的参数。
这次一共报送了6个车型
大家可以去工信部查一下。
就这造型,大家觉得与小米像吗?
只是这个轮毂,真的与小米的太像了。
鸿蒙公众号,同时也发布了信息,只是不知道这个
有望
搭华为最新的896线雷达,是真搭载,还是有能力搭载?
这个小字营销的确很恶心?
至于后面怎么样,就看市场的选择了
本文来自网友投稿或网络内容,如有侵犯您的权益请联系我们删除,联系邮箱:wyl860211@qq.com 。
苹果ios26.4智能防盗,我的数字守护神
待到春风起,共赴域外星空,夺鸿蒙器,抢盘古斧,用诸神头骨祭祀,夏雪风雷屠戮者,这九天十地何处不可去,何处不能去
最新文章
苹果ios26.4智能防盗,我的数字守护神
苹果 iOS 27 即将发布:Siri 迎来大升级!
TT 语音 T 豆充值|iOS / 安卓通用通道
鸿蒙生态里程碑:设备数突破4000万台,深开鸿代码贡献破650万行
囧次元,老司机的天堂,安卓ios网页三端支持!
【安卓】圈小猫「吾爱优化单机版」|手速策略双考验,离线自定义难度,摸鱼解压超爽!
安卓手机性能排名:红魔11Pro+跌至第二名,国产新黑马诞生
安卓免扫4K追剧软件 另附4K配置接口
3.13日苹果安卓手机平板酒水电玩美妆戴森大疆奶粉电脑等回收行情,撸货免费线报,副业兼职小项目,轻松创业!寻宝妈大学生团队对接
安卓大海视频v4.3.0
热门文章
国产操作系统的未来在哪里?华为鸿蒙会成为主力军吗?
华为Vision智慧屏6登场!鸿蒙智家“1+3+N”重构未来家居格局
别再借了,鸿蒙智行亟需规范一线门店,莫让千亿研发毁于基层营销
限时16.19万元,日产天籁鸿蒙座舱S380大师版上市,双色车漆
鸿蒙智行门店乱象频发:虚假宣传成投诉重灾区,离315还有多远
云服务器不香了?安卓旧机玩转OpenClaw智能养殖
惊艳!日本美女机器人'安卓少女';在街头与人拥抱
百级,降价啦,微信区安卓182,宠物满阶,有超核,三个宠物有奥义,资源都可以拿,没时间玩了,售价 7500元
安卓+TV,稳定
接破的坏的安卓机
随机文章
10个月宝宝每天需要喝多少奶粉?
4个安卓不敌1个苹果!iPhone均价破7千,国产高端为何追不上?
����������|ios26 你的手机高清壁纸
国风高级感色彩 ios26正念生活手机壁纸
iOS新上架的视频播放器,没有内购和广告
猛的1P,iOS低系统可用!
iOS 27 可能会成为近年来变化最大的一次系统升级之一
iOS 26.4 新增 3 大自定义功能,iPhone 更好用了
ios国区商店版终于上架,速度更新!
美好"食光"——鸿蒙幼儿园第三周营养食谱
聚各界贤达之力,筑鸿蒙首云之基,创数字经济新篇
基本
文件
流程
错误
SQL
调试
请求信息 : 2026-03-31 04:20:11 HTTP/2.0 GET : https://c.mffb.com.cn/a/475828.html
运行时间 : 0.200973s [ 吞吐率:4.98req/s ] 内存消耗:4,338.02kb 文件加载:140
缓存信息 : 0 reads,0 writes
会话信息 : SESSION_ID=19c6293d5b937fe85f5f258745ece57d
/yingpanguazai/ssd/ssd1/www/c.mffb.com.cn/public/index.php ( 0.79 KB )
/yingpanguazai/ssd/ssd1/www/c.mffb.com.cn/vendor/autoload.php ( 0.17 KB )
/yingpanguazai/ssd/ssd1/www/c.mffb.com.cn/vendor/composer/autoload_real.php ( 2.49 KB )
/yingpanguazai/ssd/ssd1/www/c.mffb.com.cn/vendor/composer/platform_check.php ( 0.90 KB )
/yingpanguazai/ssd/ssd1/www/c.mffb.com.cn/vendor/composer/ClassLoader.php ( 14.03 KB )
/yingpanguazai/ssd/ssd1/www/c.mffb.com.cn/vendor/composer/autoload_static.php ( 4.90 KB )
/yingpanguazai/ssd/ssd1/www/c.mffb.com.cn/vendor/topthink/think-helper/src/helper.php ( 8.34 KB )
/yingpanguazai/ssd/ssd1/www/c.mffb.com.cn/vendor/topthink/think-validate/src/helper.php ( 2.19 KB )
/yingpanguazai/ssd/ssd1/www/c.mffb.com.cn/vendor/topthink/think-orm/src/helper.php ( 1.47 KB )
/yingpanguazai/ssd/ssd1/www/c.mffb.com.cn/vendor/topthink/think-orm/stubs/load_stubs.php ( 0.16 KB )
/yingpanguazai/ssd/ssd1/www/c.mffb.com.cn/vendor/topthink/framework/src/think/Exception.php ( 1.69 KB )
/yingpanguazai/ssd/ssd1/www/c.mffb.com.cn/vendor/topthink/think-container/src/Facade.php ( 2.71 KB )
/yingpanguazai/ssd/ssd1/www/c.mffb.com.cn/vendor/symfony/deprecation-contracts/function.php ( 0.99 KB )
/yingpanguazai/ssd/ssd1/www/c.mffb.com.cn/vendor/symfony/polyfill-mbstring/bootstrap.php ( 8.26 KB )
/yingpanguazai/ssd/ssd1/www/c.mffb.com.cn/vendor/symfony/polyfill-mbstring/bootstrap80.php ( 9.78 KB )
/yingpanguazai/ssd/ssd1/www/c.mffb.com.cn/vendor/symfony/var-dumper/Resources/functions/dump.php ( 1.49 KB )
/yingpanguazai/ssd/ssd1/www/c.mffb.com.cn/vendor/topthink/think-dumper/src/helper.php ( 0.18 KB )
/yingpanguazai/ssd/ssd1/www/c.mffb.com.cn/vendor/symfony/var-dumper/VarDumper.php ( 4.30 KB )
/yingpanguazai/ssd/ssd1/www/c.mffb.com.cn/vendor/topthink/framework/src/think/App.php ( 15.30 KB )
/yingpanguazai/ssd/ssd1/www/c.mffb.com.cn/vendor/topthink/think-container/src/Container.php ( 15.76 KB )
/yingpanguazai/ssd/ssd1/www/c.mffb.com.cn/vendor/psr/container/src/ContainerInterface.php ( 1.02 KB )
/yingpanguazai/ssd/ssd1/www/c.mffb.com.cn/app/provider.php ( 0.19 KB )
/yingpanguazai/ssd/ssd1/www/c.mffb.com.cn/vendor/topthink/framework/src/think/Http.php ( 6.04 KB )
/yingpanguazai/ssd/ssd1/www/c.mffb.com.cn/vendor/topthink/think-helper/src/helper/Str.php ( 7.29 KB )
/yingpanguazai/ssd/ssd1/www/c.mffb.com.cn/vendor/topthink/framework/src/think/Env.php ( 4.68 KB )
/yingpanguazai/ssd/ssd1/www/c.mffb.com.cn/app/common.php ( 0.03 KB )
/yingpanguazai/ssd/ssd1/www/c.mffb.com.cn/vendor/topthink/framework/src/helper.php ( 18.78 KB )
/yingpanguazai/ssd/ssd1/www/c.mffb.com.cn/vendor/topthink/framework/src/think/Config.php ( 5.54 KB )
/yingpanguazai/ssd/ssd1/www/c.mffb.com.cn/config/app.php ( 0.95 KB )
/yingpanguazai/ssd/ssd1/www/c.mffb.com.cn/config/cache.php ( 0.78 KB )
/yingpanguazai/ssd/ssd1/www/c.mffb.com.cn/config/console.php ( 0.23 KB )
/yingpanguazai/ssd/ssd1/www/c.mffb.com.cn/config/cookie.php ( 0.56 KB )
/yingpanguazai/ssd/ssd1/www/c.mffb.com.cn/config/database.php ( 2.48 KB )
/yingpanguazai/ssd/ssd1/www/c.mffb.com.cn/vendor/topthink/framework/src/think/facade/Env.php ( 1.67 KB )
/yingpanguazai/ssd/ssd1/www/c.mffb.com.cn/config/filesystem.php ( 0.61 KB )
/yingpanguazai/ssd/ssd1/www/c.mffb.com.cn/config/lang.php ( 0.91 KB )
/yingpanguazai/ssd/ssd1/www/c.mffb.com.cn/config/log.php ( 1.35 KB )
/yingpanguazai/ssd/ssd1/www/c.mffb.com.cn/config/middleware.php ( 0.19 KB )
/yingpanguazai/ssd/ssd1/www/c.mffb.com.cn/config/route.php ( 1.89 KB )
/yingpanguazai/ssd/ssd1/www/c.mffb.com.cn/config/session.php ( 0.57 KB )
/yingpanguazai/ssd/ssd1/www/c.mffb.com.cn/config/trace.php ( 0.34 KB )
/yingpanguazai/ssd/ssd1/www/c.mffb.com.cn/config/view.php ( 0.82 KB )
/yingpanguazai/ssd/ssd1/www/c.mffb.com.cn/app/event.php ( 0.25 KB )
/yingpanguazai/ssd/ssd1/www/c.mffb.com.cn/vendor/topthink/framework/src/think/Event.php ( 7.67 KB )
/yingpanguazai/ssd/ssd1/www/c.mffb.com.cn/app/service.php ( 0.13 KB )
/yingpanguazai/ssd/ssd1/www/c.mffb.com.cn/app/AppService.php ( 0.26 KB )
/yingpanguazai/ssd/ssd1/www/c.mffb.com.cn/vendor/topthink/framework/src/think/Service.php ( 1.64 KB )
/yingpanguazai/ssd/ssd1/www/c.mffb.com.cn/vendor/topthink/framework/src/think/Lang.php ( 7.35 KB )
/yingpanguazai/ssd/ssd1/www/c.mffb.com.cn/vendor/topthink/framework/src/lang/zh-cn.php ( 13.70 KB )
/yingpanguazai/ssd/ssd1/www/c.mffb.com.cn/vendor/topthink/framework/src/think/initializer/Error.php ( 3.31 KB )
/yingpanguazai/ssd/ssd1/www/c.mffb.com.cn/vendor/topthink/framework/src/think/initializer/RegisterService.php ( 1.33 KB )
/yingpanguazai/ssd/ssd1/www/c.mffb.com.cn/vendor/services.php ( 0.14 KB )
/yingpanguazai/ssd/ssd1/www/c.mffb.com.cn/vendor/topthink/framework/src/think/service/PaginatorService.php ( 1.52 KB )
/yingpanguazai/ssd/ssd1/www/c.mffb.com.cn/vendor/topthink/framework/src/think/service/ValidateService.php ( 0.99 KB )
/yingpanguazai/ssd/ssd1/www/c.mffb.com.cn/vendor/topthink/framework/src/think/service/ModelService.php ( 2.04 KB )
/yingpanguazai/ssd/ssd1/www/c.mffb.com.cn/vendor/topthink/think-trace/src/Service.php ( 0.77 KB )
/yingpanguazai/ssd/ssd1/www/c.mffb.com.cn/vendor/topthink/framework/src/think/Middleware.php ( 6.72 KB )
/yingpanguazai/ssd/ssd1/www/c.mffb.com.cn/vendor/topthink/framework/src/think/initializer/BootService.php ( 0.77 KB )
/yingpanguazai/ssd/ssd1/www/c.mffb.com.cn/vendor/topthink/think-orm/src/Paginator.php ( 11.86 KB )
/yingpanguazai/ssd/ssd1/www/c.mffb.com.cn/vendor/topthink/think-validate/src/Validate.php ( 63.20 KB )
/yingpanguazai/ssd/ssd1/www/c.mffb.com.cn/vendor/topthink/think-orm/src/Model.php ( 23.55 KB )
/yingpanguazai/ssd/ssd1/www/c.mffb.com.cn/vendor/topthink/think-orm/src/model/concern/Attribute.php ( 21.05 KB )
/yingpanguazai/ssd/ssd1/www/c.mffb.com.cn/vendor/topthink/think-orm/src/model/concern/AutoWriteData.php ( 4.21 KB )
/yingpanguazai/ssd/ssd1/www/c.mffb.com.cn/vendor/topthink/think-orm/src/model/concern/Conversion.php ( 6.44 KB )
/yingpanguazai/ssd/ssd1/www/c.mffb.com.cn/vendor/topthink/think-orm/src/model/concern/DbConnect.php ( 5.16 KB )
/yingpanguazai/ssd/ssd1/www/c.mffb.com.cn/vendor/topthink/think-orm/src/model/concern/ModelEvent.php ( 2.33 KB )
/yingpanguazai/ssd/ssd1/www/c.mffb.com.cn/vendor/topthink/think-orm/src/model/concern/RelationShip.php ( 28.29 KB )
/yingpanguazai/ssd/ssd1/www/c.mffb.com.cn/vendor/topthink/think-helper/src/contract/Arrayable.php ( 0.09 KB )
/yingpanguazai/ssd/ssd1/www/c.mffb.com.cn/vendor/topthink/think-helper/src/contract/Jsonable.php ( 0.13 KB )
/yingpanguazai/ssd/ssd1/www/c.mffb.com.cn/vendor/topthink/think-orm/src/model/contract/Modelable.php ( 0.09 KB )
/yingpanguazai/ssd/ssd1/www/c.mffb.com.cn/vendor/topthink/framework/src/think/Db.php ( 2.88 KB )
/yingpanguazai/ssd/ssd1/www/c.mffb.com.cn/vendor/topthink/think-orm/src/DbManager.php ( 8.52 KB )
/yingpanguazai/ssd/ssd1/www/c.mffb.com.cn/vendor/topthink/framework/src/think/Log.php ( 6.28 KB )
/yingpanguazai/ssd/ssd1/www/c.mffb.com.cn/vendor/topthink/framework/src/think/Manager.php ( 3.92 KB )
/yingpanguazai/ssd/ssd1/www/c.mffb.com.cn/vendor/psr/log/src/LoggerTrait.php ( 2.69 KB )
/yingpanguazai/ssd/ssd1/www/c.mffb.com.cn/vendor/psr/log/src/LoggerInterface.php ( 2.71 KB )
/yingpanguazai/ssd/ssd1/www/c.mffb.com.cn/vendor/topthink/framework/src/think/Cache.php ( 4.92 KB )
/yingpanguazai/ssd/ssd1/www/c.mffb.com.cn/vendor/psr/simple-cache/src/CacheInterface.php ( 4.71 KB )
/yingpanguazai/ssd/ssd1/www/c.mffb.com.cn/vendor/topthink/think-helper/src/helper/Arr.php ( 16.63 KB )
/yingpanguazai/ssd/ssd1/www/c.mffb.com.cn/vendor/topthink/framework/src/think/cache/driver/File.php ( 7.84 KB )
/yingpanguazai/ssd/ssd1/www/c.mffb.com.cn/vendor/topthink/framework/src/think/cache/Driver.php ( 9.03 KB )
/yingpanguazai/ssd/ssd1/www/c.mffb.com.cn/vendor/topthink/framework/src/think/contract/CacheHandlerInterface.php ( 1.99 KB )
/yingpanguazai/ssd/ssd1/www/c.mffb.com.cn/app/Request.php ( 0.09 KB )
/yingpanguazai/ssd/ssd1/www/c.mffb.com.cn/vendor/topthink/framework/src/think/Request.php ( 55.78 KB )
/yingpanguazai/ssd/ssd1/www/c.mffb.com.cn/app/middleware.php ( 0.25 KB )
/yingpanguazai/ssd/ssd1/www/c.mffb.com.cn/vendor/topthink/framework/src/think/Pipeline.php ( 2.61 KB )
/yingpanguazai/ssd/ssd1/www/c.mffb.com.cn/vendor/topthink/think-trace/src/TraceDebug.php ( 3.40 KB )
/yingpanguazai/ssd/ssd1/www/c.mffb.com.cn/vendor/topthink/framework/src/think/middleware/SessionInit.php ( 1.94 KB )
/yingpanguazai/ssd/ssd1/www/c.mffb.com.cn/vendor/topthink/framework/src/think/Session.php ( 1.80 KB )
/yingpanguazai/ssd/ssd1/www/c.mffb.com.cn/vendor/topthink/framework/src/think/session/driver/File.php ( 6.27 KB )
/yingpanguazai/ssd/ssd1/www/c.mffb.com.cn/vendor/topthink/framework/src/think/contract/SessionHandlerInterface.php ( 0.87 KB )
/yingpanguazai/ssd/ssd1/www/c.mffb.com.cn/vendor/topthink/framework/src/think/session/Store.php ( 7.12 KB )
/yingpanguazai/ssd/ssd1/www/c.mffb.com.cn/vendor/topthink/framework/src/think/Route.php ( 23.73 KB )
/yingpanguazai/ssd/ssd1/www/c.mffb.com.cn/vendor/topthink/framework/src/think/route/RuleName.php ( 5.75 KB )
/yingpanguazai/ssd/ssd1/www/c.mffb.com.cn/vendor/topthink/framework/src/think/route/Domain.php ( 2.53 KB )
/yingpanguazai/ssd/ssd1/www/c.mffb.com.cn/vendor/topthink/framework/src/think/route/RuleGroup.php ( 22.43 KB )
/yingpanguazai/ssd/ssd1/www/c.mffb.com.cn/vendor/topthink/framework/src/think/route/Rule.php ( 26.95 KB )
/yingpanguazai/ssd/ssd1/www/c.mffb.com.cn/vendor/topthink/framework/src/think/route/RuleItem.php ( 9.78 KB )
/yingpanguazai/ssd/ssd1/www/c.mffb.com.cn/route/app.php ( 1.72 KB )
/yingpanguazai/ssd/ssd1/www/c.mffb.com.cn/vendor/topthink/framework/src/think/facade/Route.php ( 4.70 KB )
/yingpanguazai/ssd/ssd1/www/c.mffb.com.cn/vendor/topthink/framework/src/think/route/dispatch/Controller.php ( 4.74 KB )
/yingpanguazai/ssd/ssd1/www/c.mffb.com.cn/vendor/topthink/framework/src/think/route/Dispatch.php ( 10.44 KB )
/yingpanguazai/ssd/ssd1/www/c.mffb.com.cn/app/controller/Index.php ( 4.81 KB )
/yingpanguazai/ssd/ssd1/www/c.mffb.com.cn/app/BaseController.php ( 2.05 KB )
/yingpanguazai/ssd/ssd1/www/c.mffb.com.cn/vendor/topthink/think-orm/src/facade/Db.php ( 0.93 KB )
/yingpanguazai/ssd/ssd1/www/c.mffb.com.cn/vendor/topthink/think-orm/src/db/connector/Mysql.php ( 5.44 KB )
/yingpanguazai/ssd/ssd1/www/c.mffb.com.cn/vendor/topthink/think-orm/src/db/PDOConnection.php ( 52.47 KB )
/yingpanguazai/ssd/ssd1/www/c.mffb.com.cn/vendor/topthink/think-orm/src/db/Connection.php ( 8.39 KB )
/yingpanguazai/ssd/ssd1/www/c.mffb.com.cn/vendor/topthink/think-orm/src/db/ConnectionInterface.php ( 4.57 KB )
/yingpanguazai/ssd/ssd1/www/c.mffb.com.cn/vendor/topthink/think-orm/src/db/builder/Mysql.php ( 16.58 KB )
/yingpanguazai/ssd/ssd1/www/c.mffb.com.cn/vendor/topthink/think-orm/src/db/Builder.php ( 24.06 KB )
/yingpanguazai/ssd/ssd1/www/c.mffb.com.cn/vendor/topthink/think-orm/src/db/BaseBuilder.php ( 27.50 KB )
/yingpanguazai/ssd/ssd1/www/c.mffb.com.cn/vendor/topthink/think-orm/src/db/Query.php ( 15.71 KB )
/yingpanguazai/ssd/ssd1/www/c.mffb.com.cn/vendor/topthink/think-orm/src/db/BaseQuery.php ( 45.13 KB )
/yingpanguazai/ssd/ssd1/www/c.mffb.com.cn/vendor/topthink/think-orm/src/db/concern/TimeFieldQuery.php ( 7.43 KB )
/yingpanguazai/ssd/ssd1/www/c.mffb.com.cn/vendor/topthink/think-orm/src/db/concern/AggregateQuery.php ( 3.26 KB )
/yingpanguazai/ssd/ssd1/www/c.mffb.com.cn/vendor/topthink/think-orm/src/db/concern/ModelRelationQuery.php ( 20.07 KB )
/yingpanguazai/ssd/ssd1/www/c.mffb.com.cn/vendor/topthink/think-orm/src/db/concern/ParamsBind.php ( 3.66 KB )
/yingpanguazai/ssd/ssd1/www/c.mffb.com.cn/vendor/topthink/think-orm/src/db/concern/ResultOperation.php ( 7.01 KB )
/yingpanguazai/ssd/ssd1/www/c.mffb.com.cn/vendor/topthink/think-orm/src/db/concern/WhereQuery.php ( 19.37 KB )
/yingpanguazai/ssd/ssd1/www/c.mffb.com.cn/vendor/topthink/think-orm/src/db/concern/JoinAndViewQuery.php ( 7.11 KB )
/yingpanguazai/ssd/ssd1/www/c.mffb.com.cn/vendor/topthink/think-orm/src/db/concern/TableFieldInfo.php ( 2.63 KB )
/yingpanguazai/ssd/ssd1/www/c.mffb.com.cn/vendor/topthink/think-orm/src/db/concern/Transaction.php ( 2.77 KB )
/yingpanguazai/ssd/ssd1/www/c.mffb.com.cn/vendor/topthink/framework/src/think/log/driver/File.php ( 5.96 KB )
/yingpanguazai/ssd/ssd1/www/c.mffb.com.cn/vendor/topthink/framework/src/think/contract/LogHandlerInterface.php ( 0.86 KB )
/yingpanguazai/ssd/ssd1/www/c.mffb.com.cn/vendor/topthink/framework/src/think/log/Channel.php ( 3.89 KB )
/yingpanguazai/ssd/ssd1/www/c.mffb.com.cn/vendor/topthink/framework/src/think/event/LogRecord.php ( 1.02 KB )
/yingpanguazai/ssd/ssd1/www/c.mffb.com.cn/vendor/topthink/think-helper/src/Collection.php ( 16.47 KB )
/yingpanguazai/ssd/ssd1/www/c.mffb.com.cn/vendor/topthink/framework/src/think/facade/View.php ( 1.70 KB )
/yingpanguazai/ssd/ssd1/www/c.mffb.com.cn/vendor/topthink/framework/src/think/View.php ( 4.39 KB )
/yingpanguazai/ssd/ssd1/www/c.mffb.com.cn/vendor/topthink/framework/src/think/Response.php ( 8.81 KB )
/yingpanguazai/ssd/ssd1/www/c.mffb.com.cn/vendor/topthink/framework/src/think/response/View.php ( 3.29 KB )
/yingpanguazai/ssd/ssd1/www/c.mffb.com.cn/vendor/topthink/framework/src/think/Cookie.php ( 6.06 KB )
/yingpanguazai/ssd/ssd1/www/c.mffb.com.cn/vendor/topthink/think-view/src/Think.php ( 8.38 KB )
/yingpanguazai/ssd/ssd1/www/c.mffb.com.cn/vendor/topthink/framework/src/think/contract/TemplateHandlerInterface.php ( 1.60 KB )
/yingpanguazai/ssd/ssd1/www/c.mffb.com.cn/vendor/topthink/think-template/src/Template.php ( 46.61 KB )
/yingpanguazai/ssd/ssd1/www/c.mffb.com.cn/vendor/topthink/think-template/src/template/driver/File.php ( 2.41 KB )
/yingpanguazai/ssd/ssd1/www/c.mffb.com.cn/vendor/topthink/think-template/src/template/contract/DriverInterface.php ( 0.86 KB )
/yingpanguazai/ssd/ssd1/www/c.mffb.com.cn/runtime/temp/cefbf809ba1a84190cb04b0cb7abcf79.php ( 11.98 KB )
/yingpanguazai/ssd/ssd1/www/c.mffb.com.cn/vendor/topthink/think-trace/src/Html.php ( 4.42 KB )
CONNECT:[ UseTime:0.000856s ] mysql:host=127.0.0.1;port=3306;dbname=c_mffb;charset=utf8mb4
SHOW FULL COLUMNS FROM `fenlei` [ RunTime:0.000740s ]
SELECT * FROM `fenlei` WHERE `fid` = 0 [ RunTime:0.000371s ]
SELECT * FROM `fenlei` WHERE `fid` = 63 [ RunTime:0.000317s ]
SHOW FULL COLUMNS FROM `set` [ RunTime:0.000541s ]
SELECT * FROM `set` [ RunTime:0.000237s ]
SHOW FULL COLUMNS FROM `article` [ RunTime:0.001746s ]
SELECT * FROM `article` WHERE `id` = 475828 LIMIT 1 [ RunTime:0.001018s ]
UPDATE `article` SET `lasttime` = 1774902011 WHERE `id` = 475828 [ RunTime:0.024446s ]
SELECT * FROM `fenlei` WHERE `id` = 66 LIMIT 1 [ RunTime:0.000669s ]
SELECT * FROM `article` WHERE `id` < 475828 ORDER BY `id` DESC LIMIT 1 [ RunTime:0.001127s ]
SELECT * FROM `article` WHERE `id` > 475828 ORDER BY `id` ASC LIMIT 1 [ RunTime:0.005585s ]
SELECT * FROM `article` WHERE `id` < 475828 ORDER BY `id` DESC LIMIT 10 [ RunTime:0.001937s ]
SELECT * FROM `article` WHERE `id` < 475828 ORDER BY `id` DESC LIMIT 10,10 [ RunTime:0.001638s ]
SELECT * FROM `article` WHERE `id` < 475828 ORDER BY `id` DESC LIMIT 20,10 [ RunTime:0.001846s ]
0.204749s